Khuôn chạy nóng là gì?
Sử dụng phương pháp gia nhiệt hoặc cách điện cho người chạy. Để giữ cho nhựa từ vòi phun của máy ép phun đến cửa khoang nóng chảy. Trong mỗi chu kỳ phun, chỉ các phần nhựa được đẩy ra và không có mảnh vụn chạy.
Lời tựa
Khuôn chạy nóng có nhiều ưu điểm. Nhưng giá thành của nó cũng đắt. Vì vậy, chúng ta nên thận trọng hơn trong quá trình thiết kế và sản xuất khuôn. Tránh sai sót là tiết kiệm chi phí tốt nhất.
Có 10 điểm lỗi trong thiết kế. Điều này sẽ hữu ích, lấy nó nhanh chóng.
1. thiết kế đã được xác minh bằng phân tích dòng chảy khuôn.
Vật liệu nóng chảy được đúc vào các khoang tương ứng và đạt trạng thái cân bằng áp suất. Số lượng cổng dẫn nóng thường là bội số của 2 hoặc 3. Sau đó xác định vị trí của cổng và số lượng vòi phun. Nhằm làm cho chất lượng của sản phẩm đáp ứng được yêu cầu của khách hàng.
2. lựa chọn chính xác đầu phun cho người chạy nóng.
Có nhiều loại vòi phun trong bộ chạy nóng. Lựa chọn loại dựa trên điều kiện thực tế của các bộ phận và khuôn nhựa.
Vòi hình trụ
Chi phí thấp hơn. Cho ăn trực tiếp trên bề mặt của sản phẩm. Thích hợp cho các bộ phận bằng nhựa có bề mặt kết cấu.

Mở loại
Khi phần nhựa là phần nhựa kỹ thuật. Nên sử dụng vòi phun mở. Ngăn ngừa tắc vòi phun.

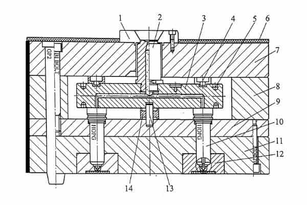
| 1. vòng tròn | 2. vòi nóng chính | 3. Ống góp nóng |
| 4. Vòng cách nhiệt | 5. Lò sưởi | 6. Tấm cách nhiệt nhiệt độ cao |
| 7. Bảng điều khiển | 8. Tấm đỡ | 9. Đệm đỡ |
| 10. Vòi nóng thứ cấp | 11. Cố định một tấm | 12. Chèn khuôn cố định |
| 13. Ghim khóa |
Van kim hoặc điểm
Hệ thống chạy nóng kiểu này có thêm một cơ cấu xi lanh. Dưới tác dụng của xi lanh, kim van được nâng lên trong quá trình phun. Bịt cổng keo vào cuối quá trình điền đầy. Nó có thể ngăn chặn hiệu quả các vết chảy.

Đồ họa
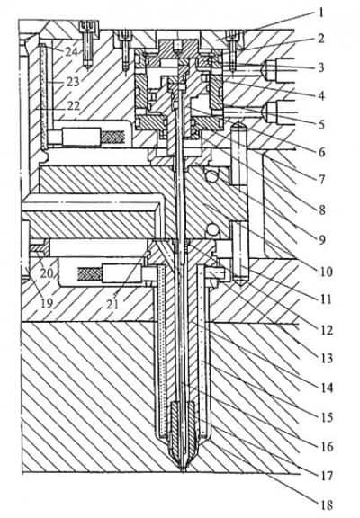
| 1. Tuyến xi lanh | 2. Hình tròn lỗ | 3. Nắp trên |
| 4. Con dấu OE | 5. Khối xi lanh | 6. Pít tông |
| 7. Con dấu O-ring | 8. Đai dẫn hướng | 9. Riser Pad |
| 10. Á hậu tách | 11. Ghim định vị Manifold | 12. Ống lót dẫn hướng van |
| 13. Chốt định vị vòi phun | 14. Thân vòi | 15. Bộ gia nhiệt lõi |
| 16. Cổng van | 17. Đầu vòi | 18. Vòng tròn trục |
| 19. Chốt định vị trung tâm | 20. Đệm đỡ trung tâm | 21. Á hậu đóng dấu |
| 22. Vòi phun chính kiểu sưởi | 23. Bộ gia nhiệt vòi phun chính | 24. Vòng tròn trục |
3. Ống góp nóng không được cách nhiệt tốt.
Hệ thống chạy nóng tiếp xúc với tấm khuôn trên một diện tích lớn và cần có tác dụng cách nhiệt tốt. Cách nhiệt của các tấm chạy nóng, vòi phun và tấm khuôn chủ yếu là cách nhiệt bằng không khí. Các bộ phận kết cấu nên giảm diện tích tiếp xúc với tấm. Và phải có đủ không gian.
Như cấu trúc Một chương trình :
Nếu tấm chạy nóng được thiết kế tổng thể với vòng áp lực. Nó sẽ làm cho hiệu quả cách nhiệt của hot runner kém hơn và tăng chi phí.

Như cấu trúc B cho thấy :
Kích thước đầu phun của vòi dễ dàng điều chỉnh. Đặt đủ đường nước làm mát gần vòi phun. Tránh người chạy nóng gần vầng hào quang cổng.

4. Á hậu của tấm Á hậu có góc chết.
Nếu có góc chết ở người chạy. Điều này sẽ làm cho vật liệu còn sót lại tích tụ trong người chạy. Sẽ có hiện tượng quang sai màu trong các bộ phận bằng nhựa.
5.Vòi của bộ chạy nóng bị rò rỉ hoặc bị tắc.
Vòi phun nóng sẽ kéo dài ra do kích thước giãn nở sau khi gia nhiệt. Vì vậy trong thiết kế để tính toán kích thước giãn nở của vòi phun. Kích thước của độ giãn dài sau khi vòi phun được gia nhiệt. Nếu không, nó sẽ làm hỏng khoang và bộ phận chạy nóng. Dung sai cần thiết cho việc lắp ráp phải được đánh dấu trong bản vẽ lắp ráp.

6.Trung tâm của vòi phun phải được căn chỉnh với lỗ trung tâm của khoang.
Nhiệt độ tấm chạy nóng là 200 ° C. Nhiệt độ khoang là 60 ° C. Có sự khác biệt về sự giãn nở vì nhiệt giữa hai loại.

Như trong Hình A:
Phải có đủ không gian giữa vòi phun và tiêu bản. Sửa lại vị trí của Á hậu nóng chạm vào miệng. Lượng hiệu chỉnh là lượng giãn nở nhiệt của tấm dẫn dòng. Đảm bảo rằng tâm của lỗ vòi phun và tâm của lỗ cổng không bị lệch.
Như trong Hình B:
Vòi phun được làm bằng thép có độ đàn hồi cao hoặc đồng niken hoặc đồng berili có độ đàn hồi cao.
7.Khuôn chạy nóng tấm và sửa lỗi tấm khoang
Số 1
Không thể sử dụng kết cấu vít giữa hai loại này.
Như sau. Nếu nó được cố định trực tiếp bằng vít. Hướng giãn nở nhiệt của tấm chạy bị hạn chế. Sẽ làm cho tấm chạy nghiêng lên.
Như hình minh họa B. Sử dụng vít có bậc. L1 cao hơn 0,05 mm so với L. Tấm chạy có đủ không gian để mở rộng và co lại.

8. Khuôn chạy nóng thiết kế nên xem xét tính chất dẻo.
Khuôn ép sử dụng cấu trúc người chạy nóng và được lựa chọn theo các đặc tính của nhựa. Xem Bảng để biết chi tiết.
| Hiệu suất | Nhựa dẻo |
|---|---|
| Tốt | PP, PZ, ICP, TPE |
| Đủ điều kiện | ABS, SAN, PET, PBT, POM, PA, PPE, PPO, PPS, PC / ABS, PC / PEBT |
| Nghèo | PC, PMMA, PEEK, PES, PEI, POM |
9. Khuôn chạy nóng của tấm chạy nóng có bề mặt thô.
Độ nhám bề mặt của các lỗ chạy phù hợp với bề mặt của hốc. Tránh các lỗ của người chạy gồ ghề càng nhiều càng tốt.
10.Khuôn chạy nóng thiết kế thành phần điện hiểu lầm.
1) Hệ thống chạy nóng không phù hợp với nguồn điện.
Tính công suất điện được tính theo khối lượng 1 kg tương ứng với 1-1,2 kw. Hiện tại, các hệ thống chạy nóng là tiêu chuẩn hoặc tùy chỉnh được thực hiện. Nó đã được cung cấp bởi nhà sản xuất Á hậu nóng.
2) Dây điện phải đi vào và ra khỏi đầu khuôn.
Ngăn nước làm mát làm ướt dây dẫn. Gây ra tai nạn rò rỉ.
3) Cặp nhiệt không được lắp đặt đúng cách.
Tấm dòng chảy và vòi phun 2 tầng được kiểm soát nhiệt độ riêng biệt. Giảm thiểu sự chênh lệch nhiệt độ giữa đĩa chạy và vòi phun cấp 2. Cặp nhiệt điện thường được đặt ở những nơi có nhiệt độ cao nhất. Giữa người chạy và phần nóng nhất của lò sưởi.
4) Chú ý đến an toàn điện của người chạy nóng.
Dây nguồn phải được cố định và bảo vệ khỏi ma sát với các bộ phận. Đồng thời, đã sử dụng ống sáp để bảo vệ dây điện.
5) Các thành phần chạy nóng không được đánh số tương ứng.
Đảm bảo dây điều khiển nhiệt độ của lò sưởi và nguồn điện tương ứng với nhau khi đấu dây. Điểm vòi phun của tấm chạy nóng và khoang được đánh số tương ứng. Nguồn cấp dữ liệu trung tâm là 1 và phần còn lại là từ phía trên bên phải. Được đánh số ngược chiều kim đồng hồ từ trục x-trục y. Như hình ảnh cho thấy.
Kết luận:
Đây là gợi ý điểm 10 cơ bản. Có thể nó sẽ giúp bạn nhớ lại nhiều chi tiết hơn. Nếu bạn vẫn còn thắc mắc, vui lòng liên hệ với chúng tôi .
